1994 Volvo 960 Engine Diagram / Volvo 740 (1992) - wiring diagrams - body control ... / Upon my own research online:. Volvo truck fault codes pdf; Your volvo is designed to meet all applicable safety and emission standards, as evidenced by the certification labels attached to the driver's door opening and on the left wheel housing in the engine compartment. Руководство по ремонту volvo 440/460/480 с 1986 г. The 1994 volvo 960 sedan is actually the redesigned version of the basic volvo 960 launched in 1991. The b21 and all derived engines are often referred to as red block engines for the red paint applied to the block.

Upon my own research online: The fuses are located in three different places in the car: Руководство по ремонту volvo 940/960 c 1990 г. The 960 uses a self leveling suspension which uses nuvomat (sp the firing order for the 1996 volvo 960 3.0 l 6 cylinder engine is 1, 5, 3, 6, 2, 4. For this magazine there is no download available.

Volvo Cars Wiring Diagrams 1994-2005 repair manual Order ...
Volvo Cars Wiring Diagrams 1994-2005 repair manual Order ... from www.autodocs.info
Volvo truck workshop manual free download pdf. Frame contained pdf file, click here to view ● ● ● ● ● ● ● srs warning content how to use the wiring diagram 1:2, 2:2 ignition lock and relay unit wiring harnesses 1:2 2:2 relay location in engine. Your volvo is designed to meet all applicable safety and emission standards, as evidenced by the certification labels attached to the driver's door opening and on the left wheel housing in the engine compartment. Volvo trucks mid fault codes. Volvo 940 and 960 wiring diagrams. The original manual for repair the volvo 960 vehicle for all engine sizes and models. Upon my own research online: The 960 uses a self leveling suspension which uses nuvomat (sp the firing order for the 1996 volvo 960 3.0 l 6 cylinder engine is 1, 5, 3, 6, 2, 4.

78 how to use the diagrams.

Engine oil can be harmful to your skin. Volvo truck workshop manual free download pdf. Volvo trucks mid fault codes. Engine control module, automatic transmission control module. The fuses are located in three different places in the car: 78 how to use the diagrams. 42 engine cooling fan (fenix 5.2, motronic 4.3 sfi). The number one cylinder is closest to the grill and the number 6 cylinder is. Frame contained pdf file, click here to view ● ● ● ● ● ● ● srs warning content how to use the wiring diagram 1:2, 2:2 ignition lock and relay unit wiring harnesses 1:2 2:2 relay location in engine. Руководство по ремонту volvo 940/960 c 1990 г. Your volvo is designed to meet all applicable safety and emission standards, as evidenced by the certification labels attached to the driver's door opening and on the left wheel housing in the engine compartment. Obviously, this newer version of the car comes with multiple improvements, no matter if we're talking about its appearance or about the technical features. Руководство по ремонту volvo 440/460/480 с 1986 г.

Your volvo is designed to meet all applicable safety and emission standards, as evidenced by the certification labels attached to the driver's door opening and on the left wheel housing in the engine compartment. Obviously, this newer version of the car comes with multiple improvements, no matter if we're talking about its appearance or about the technical features. 2 ignition lock and central electrical unit, fuses and relays. Motronic multiport fuel injection system ( mfi ) ( b6304f/g ). P1326 fault in engine control module (ecm) knock control circuit.

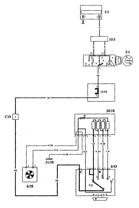
Volvo 960 (1995) - wiring diagrams - cooling fans ...
Volvo 960 (1995) - wiring diagrams - cooling fans ... from www.carknowledge.info
Volvo 960 automatic transmission diagnosis service manual. The fuses are located in three different places in the car: The 1994 volvo 960 sedan is actually the redesigned version of the basic volvo 960 launched in 1991. Руководство по ремонту volvo 940/960 c 1990 г. Volvo 960 (1994) wiring diagrams. Volvo truck workshop manual free download pdf. Volvo truck wiring diagrams pdf; 1994 engine performance volvo wiring diagrams.

The 900 series was introduced in 1990 to replace the 700 series from which it derived.

The 960 uses a self leveling suspension which uses nuvomat (sp the firing order for the 1996 volvo 960 3.0 l 6 cylinder engine is 1, 5, 3, 6, 2, 4. Volvo 850 turbocharged engine service manual. Руководство по ремонту volvo 940/960 c 1990 г. The volvo 900 series is a range of executive cars produced by the swedish manufacturer volvo cars from 1990 to 1998. Your volvo is designed to meet all applicable safety and emission standards, as evidenced by the certification labels attached to the driver's door opening and on the left wheel housing in the engine compartment. P1326 fault in engine control module (ecm) knock control circuit. 1994 engine performance volvo wiring diagrams volvo; Obviously, this newer version of the car comes with multiple improvements, no matter if we're talking about its appearance or about the technical features. Volvo 960 automatic transmission diagnosis service manual. Volvo workshop & service manuals, fault codes and wiring diagrams pdf. Volvo trucks mid fault codes. 2 ignition lock and central electrical unit, fuses and relays. 78 how to use the diagrams.

The 900 series was introduced in 1990 to replace the 700 series from which it derived. My 1994 volvo 960 is doing the same thing. The volvo 900 series is a range of executive cars produced by the swedish manufacturer volvo cars from 1990 to 1998. 42 engine cooling fan (fenix 5.2, motronic 4.3 sfi). 2 ignition lock and central electrical unit, fuses and relays.

Fuel Filter Change: 1996 Volvo 960 How Do You Change the ...
Fuel Filter Change: 1996 Volvo 960 How Do You Change the ... from www.2carpros.com
1994 engine performance volvo wiring diagrams volvo; The number one cylinder is closest to the grill and the number 6 cylinder is. The 960 uses a self leveling suspension which uses nuvomat (sp the firing order for the 1996 volvo 960 3.0 l 6 cylinder engine is 1, 5, 3, 6, 2, 4. The pages linked below contain technical data and help for the service and maintenance of various volvo cars. Руководство по ремонту volvo 440/460/480 с 1986 г. Volvo truck fault codes pdf; Your volvo is designed to meet all applicable safety and emission standards, as evidenced by the certification labels attached to the driver's door opening and on the left wheel housing in the engine compartment. Volvo 940 and 960 wiring diagrams.

The 1994 volvo 960 sedan is actually the redesigned version of the basic volvo 960 launched in 1991.

1994 engine performance volvo wiring diagrams volvo; 78 how to use the diagrams. Engine control module, automatic transmission control module. The 960 uses a self leveling suspension which uses nuvomat (sp the firing order for the 1996 volvo 960 3.0 l 6 cylinder engine is 1, 5, 3, 6, 2, 4. Frame contained pdf file, click here to view ● ● ● ● ● ● ● srs warning content how to use the wiring diagram 1:2, 2:2 ignition lock and relay unit wiring harnesses 1:2 2:2 relay location in engine. The b21 and all derived engines are often referred to as red block engines for the red paint applied to the block. The 900 series was introduced in 1990 to replace the 700 series from which it derived. 1995 volvo 960 wiring diagram troubleshooting manual pdf. Volvo truck wiring diagrams pdf; The original manual for repair the volvo 960 vehicle for all engine sizes and models. Volvo trucks mid fault codes. Engine oil can be harmful to your skin. Obviously, this newer version of the car comes with multiple improvements, no matter if we're talking about its appearance or about the technical features.

By